.

 

Início O Autor História A Viagem Moçambique Livros Notícias Procura Encontros Imagens Mailing List Ligações Mapa do Site

Share |

Brasões, Guiões e Crachás

Siga-nos

Fórum UTW

Pesquisar no portal UTM

Apoio Médico-Sanitário

Apoio Médico-Sanitário nos teatros-de-operações ultramarinos (subsídios para História)

Com a colaboração do veterano J. C. Abreu dos Santos

 

 

Apoio Médico-Sanitário nos teatros-de-operações ultramarinos

 

 

 

(subsídios para História)

 

 

 

 

A nossa singela homenagem a todos aqueles que,

na frente de combate ou na retaguarda, resgataram da morte as nossas vidas.

BEM-HAJAM!

 

 

Moçambique (RMM)

fonte "Resenha Histórico-Militar das Campanhas de África (1961-1974)" (4º vol), CECA/EME, Lisboa 1989

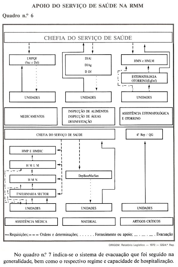
Orgânica do apoio-médico sanitário na RMM

© UTW online desde 30Mar2006

Traffic Rank

Portal do UTW: Criado e mantido por um grupo de Antigos Combatentes da Guerra do Ultramar

Voltar ao Topo